


111,11 ₸
Көтерме бағаны көрсетуСайттағы минималды тапсырыс сомасы — 100 000 ₸
Компания ХХІ КВАНТ ұсынады ОГ-13 бас бауын сатып алу қоймада немесе тапсырыс бойынша бізде тиімді бағамен. Бізде сіз сапалы өнімді көтерме бағамен тікелей делдалсыз аласыз. Барлық позицияларда Сертификаттар мен сапа төлқұжаттары бар.
Сіз аласыз бас бау ОГ-13 жеткізілімімен тапсырыс беріңіз Қазақстанның кез келген өңіріне: Қарағанды, Алматы, Астана, Шымкент, Орал, Қостанай, Павлодар, Ақтау, Өскемен және т.б. Біз сенімді логистиканы және жылдам жеткізуді қамтамасыз етеміз. Тапсырысты сайт арқылы рәсімдеңіз kzcable.kz немесе нөмір бойынша кеңес алу үшін менеджерге хабарласыңыз +7 (747) 191-70-02
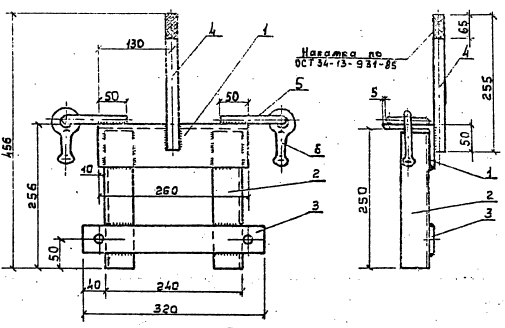
Бас бау ОГ-13 3.407.1-143 (3.407.1-143.8.36) үлгілік жобасына сәйкес шығарылады.
Бас бау ОГ-13 істік оқшаулағыштарды (ШФ-10Г, ШФ-20Г) және керме ілгіштерді 10кВ электр беру желілерінің бұрыштық және анкерлік тіректеріне, олар инженерлік ғимараттармен және құрылыстармен қиылысқан кезде бекіту үшін қолданылады.
Қарай бас бау ОГ-13 екі ілмек дәнекерленген, олардың әрқайсысы СРС-7-16 типті сырғамен жабдықталған.
| Лауазымы | Бөлшектің атауы | Саны | Салмағы, кг |
|---|---|---|---|
| 1 | Бұрыш 90х90х7 МЕМСТ8509-86 | 1 | 7,30 |
| 2 | Бұрыш 50х50х5 МЕМСТ8509-86 | 2 | |
| 3 | 7х50 жолақ МЕМСТ103-75 | 1 | |
| 4 | Шеңбер 22 МЕМСТ2590-71 | 1 | |
| 5 | 16 шеңбер МЕМСТ2590-71 | 2 | |
| 6 | Сырға СРС-7-17 МЕМСТ2725-78 | 2 |

Белгілеу нұсқалары: бас бау ОГ-13, ОГ13, ОГ 13
****ОГ-13 бас бауы өнімінің бағасы сатып алу көлеміне, төлем шарттарына, жеткізу шарттарына байланысты. Компания ХХІ КВАНТ ынтымақтастықтың тиімді шарттарын, жеңілдіктердің икемді жүйесін, төлемді 60 күнге дейін кейінге қалдыруды және мекемеге жылдам жеткізуді ұсынады.
Құнын есептеу үшін - бізге өтінім жіберіңіз WhatsApp немесе менеджерлерімізге нөмір бойынша хабарласыңыз +7 (747) 191-70-02
Қазақстан бойынша сенімді жеткізушіден 30%-ға дейінгі жеңілдікпен жеткізілетін жоғары сапалы ОГ-13 бас бауын сатып алу мүмкіндігін жіберіп алмаңыз - тапсырысыңызды біздің сайтта орналастырыңыз kzcable.kz дәл қазір.
| Пайдаланушы сипаттамалары | |
|---|---|
| Салмақ | 7,30 келі |