


111,11 ₸
Көтерме бағаны көрсетуСайттағы минималды тапсырыс сомасы — 100 000 ₸
Компания ХХІ КВАНТ ұсынады сатып алу Тартпа ОТ-3 қоймада немесе тапсырыс бойынша бізде тиімді бағамен. Бізде сіз сапалы өнімді көтерме бағамен тікелей делдалсыз аласыз. Барлық позицияларда Сертификаттар мен сапа төлқұжаттары бар.
Сіз аласыз ОТ-3 тартқышына жеткізіліммен тапсырыс беру Қазақстанның кез келген өңіріне: Қарағанды, Алматы, Астана, Шымкент, Орал, Қостанай, Павлодар, Ақтау, Өскемен және т.б. Біз сенімді логистиканы және жылдам жеткізуді қамтамасыз етеміз. Тапсырысты сайт арқылы рәсімдеңіз kzcable.kz немесе нөмір бойынша кеңес алу үшін менеджерге хабарласыңыз +7 (747) 191-70-02
3-тен тарту 3.407.1-143 (3.407.1-143.8.45) үлгілік жобасына сәйкес шығарылады.
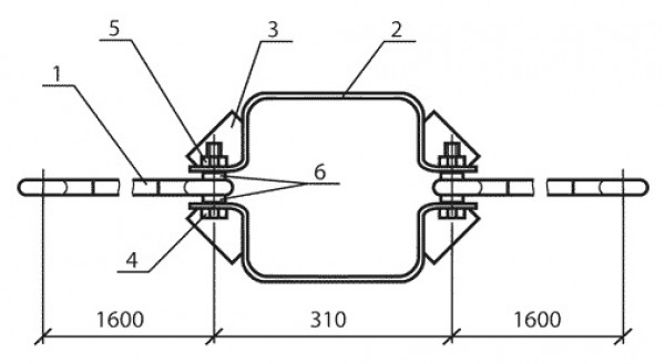
3-тен тарту ұзындығы 16,4 м (СБ 164-12 типі) номиналды кернеуі 6 кВ және 10 кВ темірбетоннан жасалған электр беру желілерінің тіректерін туралау үшін қолданылады. Тартпалардың көмегімен берілген конструкцияның тіректерін пайдалану кезінде пайда болатын күштер мен күштер моменттерінің орнын толтыру жүзеге асырылады. ЭБЖ тіректерін орнату кезінде қолданылуы мүмкін қатты тіреулермен салыстырғанда, 3-тен тарту тиімділігімен және үнемділігімен ерекшеленеді.
| Лауазымы | Бөлшектің атауы | Саны | Салмағы, кг |
|---|---|---|---|
| 1 | 14 шеңбер МЕМСТ 2590-71 L=1920 | 2 | 9,60 |
| 2 | Жолақ 6х70 МЕМСТ103-76 L=560 | 2 | |
| 3 | 6х50 жолақ МЕМСТ103-76 | 4 | |
| 4 | Бұранда М16х80 МЕМСТ7798-70 | 2 | |
| 5 | Гайка М16 МЕМСТ5915-70 | 2 | |
| 6 | Шайба 16 МЕМСТ11371-78 | 4 |

Белгілеу нұсқалары: 3-тен, 3-ТЕН, 3-тен тарту
****Тауардың бағасы 3-тен жоғары болуы сатып алу көлеміне, төлем шарттарына, жеткізу шарттарына байланысты. Компания ХХІ КВАНТ ынтымақтастықтың тиімді шарттарын, жеңілдіктердің икемді жүйесін, төлемді 60 күнге дейін кейінге қалдыруды және мекемеге жылдам жеткізуді ұсынады.
Құнын есептеу үшін - бізге өтінім жіберіңіз WhatsApp немесе менеджерлерімізге нөмір бойынша хабарласыңыз +7 (747) 191-70-02
Қазақстан бойынша сенімді жеткізушіден 30%-ға дейінгі жеңілдікпен жеткізіліммен жоғары сапалы 3-тен тартқышты сатып алу мүмкіндігін жіберіп алмаңыз - тапсырысты біздің сайтта орналастырыңыз kzcable.kz дәл қазір.
| Пайдаланушы сипаттамалары | |
|---|---|
| Салмақ | 9,60 келі |