


111,11 ₸
Көтерме бағаны көрсетуСайттағы минималды тапсырыс сомасы — 100 000 ₸
Компания ХХІ КВАНТ ұсынады траверса ТМ-105 сатып алу қоймада немесе тапсырыс бойынша бізде тиімді бағамен. Бізде сіз сапалы өнімді көтерме бағамен тікелей делдалсыз аласыз. Барлық позицияларда Сертификаттар мен сапа төлқұжаттары бар.
Сіз аласыз ТМ-105 траверсіне жеткізіліммен тапсырыс беру Қазақстанның кез келген өңіріне: Қарағанды, Алматы, Астана, Шымкент, Орал, Қостанай, Павлодар, Ақтау, Өскемен және т.б. Біз сенімді логистиканы және жылдам жеткізуді қамтамасыз етеміз. Тапсырысты сайт арқылы рәсімдеңіз kzcable.kz немесе нөмір бойынша кеңес алу үшін менеджерге хабарласыңыз +7 (747) 191-70-02
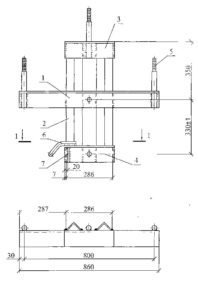
ТМ-105Траверса 26.0004 (26.0004-16) үлгілік жобаға сәйкес шығарылады.
Металл көмегімен ТМ-105 траверстері сымдар кернеуі 10 кВ жоғары вольтты әуе электр беру желілерін жүргізу кезінде тіректерге бекітіледі. Траверстің құрылымдық беріктігі траверстер жасалатын көміртекті болаттың қасиеттерімен анықталады. Ал битум негізіндегі БТ-577 лакпен қаптау траверстердің тоттануға төзімділігін қамтамасыз етеді
Бекіту үшін ТМ-105 траверстері бағанада қысқыштар қолданылады. Қысқыштың түрі тірек түріне қарай таңдалады. СВ110 темірбетон бағанасы үшін Х-42 сериялы қысқыштарды таңдау керек, ал Х-1 сериясы СВ105 тіректерін тартуға арналған. Қысқыштарға тапсырыс тіректердің белгілі бір түрі үшін бөлек жасалады.
| Лауазымы | Бөлшектің атауы | Саны | Салмағы, кг |
|---|---|---|---|
| 1 | Бұрыш 100х100х8 МЕМСТ 8509-93 L=860 | 1 | 35.80 |
| 2 | Бұрыш 70х70х6 МЕМСТ 8509-93 L=725 | 2 | |
| 3 | Бұрыш 100х100х8 МЕМСТ 8509-93 L=300 | 1 | |
| 4 | Бұрыш 100х100х8 МЕМСТ 8509-93 L=300 | 1 | |
| 5 | Шеңбер 36 МЕМСТ 2590-88 L=300 | 3 | |
| 6 | 20 шеңбер МЕМСТ 2590-88 L=390 | 1 | |
| 7 | 6х85 жолақ МЕМСТ 103-76 L=85 | 1 |

Белгілеу нұсқалары: траверса ТМ-105, ТМ105, ТМ 105
****Тауардың бағасы Траверса ТМ-105 сатып алу көлеміне, төлем шарттарына, жеткізу шарттарына байланысты. Компания ХХІ КВАНТ ынтымақтастықтың тиімді шарттарын, жеңілдіктердің икемді жүйесін, төлемді 60 күнге дейін кейінге қалдыруды және мекемеге жылдам жеткізуді ұсынады.
Құнын есептеу үшін - бізге өтінім жіберіңіз WhatsApp немесе менеджерлерімізге нөмір бойынша хабарласыңыз +7 (747) 191-70-02
Қазақстан бойынша сенімді жеткізушіден 30%-ға дейінгі жеңілдікпен жоғары сапалы Траверса ТМ-105 сатып алу мүмкіндігін жіберіп алмаңыз - тапсырысты біздің сайтта орналастырыңыз kzcable.kz дәл қазір.
| Пайдаланушы сипаттамалары | |
|---|---|
| Салмақ | 35,80 келі |