


111,11 ₸
Көтерме бағаны көрсетуСайттағы минималды тапсырыс сомасы — 100 000 ₸
Компания ХХІ КВАНТ ұсынады ТМ-22 траверсасын сатып алу қоймада немесе тапсырыс бойынша бізде тиімді бағамен. Бізде сіз сапалы өнімді көтерме бағамен тікелей делдалсыз аласыз. Барлық позицияларда Сертификаттар мен сапа төлқұжаттары бар.
Сіз аласыз ТМ-22 траверсіне жеткізіліммен тапсырыс беру Қазақстанның кез келген өңіріне: Қарағанды, Алматы, Астана, Шымкент, Орал, Қостанай, Павлодар, Ақтау, Өскемен және т.б. Біз сенімді логистиканы және жылдам жеткізуді қамтамасыз етеміз. Тапсырысты сайт арқылы рәсімдеңіз kzcable.kz немесе нөмір бойынша кеңес алу үшін менеджерге хабарласыңыз +7 (747) 191-70-02
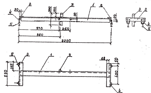
ТМ-22 траверстері (жоба 3.407.1-143.8.21) 10 кВ әуе желілерінің анкерлік тіректерін монтаждау және орнату кезінде СБ типті тіректерге сымдарды бекіту кезінде қолданылады.
Қосулы ТМ-22 траверсінде төрт ілмек бар, олардың әрқайсысы СРС-7-16 сериялы сырғамен жабдықталған.
Траверсті тіреулерге бекіту арнайы қысқыштардың көмегімен жүзеге асырылады. СВ110 бағанасына бекіту үшін Х-42 маркалы қысқыштар, СВ105 бағанасына Х-1 маркалы қысқыштар қолданылады. Қысқыштарға жеке тәртіпте тапсырыс беру қажет.
Бұйымның габариттері: 2200х550х400мм.
| Лауазымы | Бөлшектің атауы | Саны | Салмағы, кг |
|---|---|---|---|
| 1 | Бұрыш 100х100х8 МЕМСТ 8509--86 | 1 | 40.80 |
| 2 | Бұрыш 90х90х7 МЕМСТ 8509--86 | 2 | |
| 3 | Бұрыш 50х50х5 МЕМСТ 8509--86 | 1 | |
| 4 | 16 шеңбер МЕМСТ 2590-71 | 4 | |
| 5 | Сырға СРС-7-17 МЕМСТ 2725-78 | 4 |

Белгілеу нұсқалары: траверс ТМ-22, ТМ22, ТМ-22
****ТМ-22 Траверс тауарының бағасы сатып алу көлеміне, төлем шарттарына, жеткізу шарттарына байланысты. Компания ХХІ КВАНТ ынтымақтастықтың тиімді шарттарын, жеңілдіктердің икемді жүйесін, төлемді 60 күнге дейін кейінге қалдыруды және мекемеге жылдам жеткізуді ұсынады.
Құнын есептеу үшін - бізге өтінім жіберіңіз WhatsApp немесе менеджерлерімізге нөмір бойынша хабарласыңыз +7 (747) 191-70-02
Қазақстан бойынша сенімді жеткізушіден 30%-ға дейінгі жеңілдікпен жоғары сапалы Траверса ТМ-22 сатып алу мүмкіндігін жіберіп алмаңыз - тапсырысты біздің сайтта рәсімдеңіз kzcable.kz дәл қазір.
| Пайдаланушы сипаттамалары | |
|---|---|
| Салмақ | 40,80 келі |