


111,11 ₸
Көтерме бағаны көрсетуСайттағы минималды тапсырыс сомасы — 100 000 ₸
Компания ХХІ КВАНТ ұсынады ТМ-65 траверсасын сатып алу қоймада немесе тапсырыс бойынша бізде тиімді бағамен. Бізде сіз сапалы өнімді көтерме бағамен тікелей делдалсыз аласыз. Барлық позицияларда Сертификаттар мен сапа төлқұжаттары бар.
Сіз аласыз ТМ-65 траверсіне жеткізіліммен тапсырыс беру Қазақстанның кез келген өңіріне: Қарағанды, Алматы, Астана, Шымкент, Орал, Қостанай, Павлодар, Ақтау, Өскемен және т.б. Біз сенімді логистиканы және жылдам жеткізуді қамтамасыз етеміз. Тапсырысты сайт арқылы рәсімдеңіз kzcable.kz немесе нөмір бойынша кеңес алу үшін менеджерге хабарласыңыз +7 (747) 191-70-02
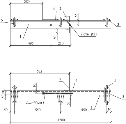
ТМ-65 траверсі 27.0002 (27.0002-30) үлгілік жобаға сәйкес шығарылады.
Кернеуі 10 кВ жоғары вольтты әуе ЭБЖ жүргізу процесінде ТМ-65 траверсі тартылатын сымды желі тіректеріне бекіту үшін қолданылады.
Траверсті ЭБЖ тірегіне бекіту бекіткіш қысқыштармен орындалады және әрбір тірек маркасы үшін қысқыштардың тиісті маркалары әзірленеді. Сондықтан қысқыштарға тапсырыс беру электр беру желілерін жүргізу кезінде қандай тіректер қолданылатынына байланысты бөлек жүзеге асырылады. СВ105 тірегі үшін Х-1 қысқышын, ал СВ110 тірегі үшін Х-42 қысқышын пайдалану қажет.
Траверстің материалы - көміртекті болат, соның арқасында конструкцияның жоғары беріктік қасиеттеріне қол жеткізіледі. Траверстерді коррозиядан қорғау битум негізіндегі БТ-577 лакпен өндіріс процесінде траверсті жабу арқылы жүзеге асырылады.
| Лауазымы | Бөлшектің атауы | Саны | Салмағы, кг |
|---|---|---|---|
| 1 | Бұрыш 100х100х8 МЕМСТ 8509-93 L=1200 | 1 | 18.80 |
| 2 | Бұрыш 63х63х8 МЕМСТ 8509-93 L=200 | 1 | |
| 3 | 16 шеңбер МЕМСТ 2590-88 L=254 | 5 | |
| 4 | Жерге тұйықтау өткізгіші, 10 айналым МЕМСТ 2590-88 L=360 | 1 | |
| 5 | 7-16 аралығындағы сырға | 5 |

Белгілеу нұсқалары: траверс ТМ-65, ТМ65, ТМ-65
****ТМ-65 Траверс тауарының бағасы сатып алу көлеміне, төлем шарттарына, жеткізу шарттарына байланысты. Компания ХХІ КВАНТ ынтымақтастықтың тиімді шарттарын, жеңілдіктердің икемді жүйесін, төлемді 60 күнге дейін кейінге қалдыруды және мекемеге жылдам жеткізуді ұсынады.
Құнын есептеу үшін - бізге өтінім жіберіңіз WhatsApp немесе менеджерлерімізге нөмір бойынша хабарласыңыз +7 (747) 191-70-02
Қазақстан бойынша сенімді жеткізушіден 30%-ға дейінгі жеңілдікпен жоғары сапалы Траверса ТМ-65 сатып алу мүмкіндігін жіберіп алмаңыз - тапсырысты біздің сайтта орналастырыңыз kzcable.kz дәл қазір.
| Пайдаланушы сипаттамалары | |
|---|---|
| Салмақ | 18,80 келі |