


111,11 ₸
Көтерме бағаны көрсетуСайттағы минималды тапсырыс сомасы — 100 000 ₸
Компания ХХІ КВАНТ ұсынады сатып алу Траверса ТМ-70 қоймада немесе тапсырыс бойынша бізде тиімді бағамен. Бізде сіз сапалы өнімді көтерме бағамен тікелей делдалсыз аласыз. Барлық позицияларда Сертификаттар мен сапа төлқұжаттары бар.
Сіз аласыз ТМ-70 траверсіне жеткізіліммен тапсырыс беру Қазақстанның кез келген өңіріне: Қарағанды, Алматы, Астана, Шымкент, Орал, Қостанай, Павлодар, Ақтау, Өскемен және т.б. Біз сенімді логистиканы және жылдам жеткізуді қамтамасыз етеміз. Тапсырысты сайт арқылы рәсімдеңіз kzcable.kz немесе нөмір бойынша кеңес алу үшін менеджерге хабарласыңыз +7 (747) 191-70-02
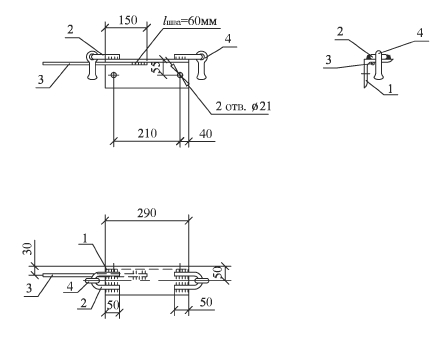
ТМ-70 траверсі 27.0002 (27.0002-35) үлгілік жобаға сәйкес шығарылады.
ТМ-70 траверстері олар сымдарды 10 кВ жоғары вольтты электр беру желілері сияқты тіректерге бекіту үшін қолданылады.
Бекіту ТМ-70 траверстері ол арнайы қысқыштардың көмегімен жасалады. Қысқыш тіректің түріне байланысты таңдалады. СВ105 типті тіректерге бекіту Х-1 қысқышымен, ал СВ110 типті тіректерге - Х-42 қысқышымен жүзеге асырылады. Х-1 және Х-42 қысқыштарына бөлек тапсырыс беру керек, өйткені олар траверстерге қосылмаған.
Дайындалады ТМ-70 траверсі көміртекті болат сияқты берік және сапалы материалдан жасалған және лакпен коррозияға қарсы жабынның (БТ-577 лак) арқасында ол кез келген ауа райы жағдайында ұзақ уақыт қызмет етеді.
ТМ-70 траверстерінің сипаттамасы
| Лауазымы | Бөлшектің атауы | Саны | Салмағы, кг |
|---|---|---|---|
| 1 | Бұрыш 100х100х8 МЕМСТ 8509-93 L=290 | 1 | 5.00 |
| 2 | 16 шеңбер МЕМСТ 2590-88 L=254 | 2 | |
| 3 | Жерге тұйықтау өткізгіші, 10 айналым МЕМСТ 2590-88 L=260 | 1 | |
| 4 | 7-16 аралығындағы сырға | 1 |

Белгілеу нұсқалары: траверс ТМ-70, ТМ70, ТМ-70
****ТМ-70 Траверс тауарының бағасы сатып алу көлеміне, төлем шарттарына, жеткізу шарттарына байланысты. Компания ХХІ КВАНТ ынтымақтастықтың тиімді шарттарын, жеңілдіктердің икемді жүйесін, төлемді 60 күнге дейін кейінге қалдыруды және мекемеге жылдам жеткізуді ұсынады.
Құнын есептеу үшін - бізге өтінім жіберіңіз WhatsApp немесе менеджерлерімізге нөмір бойынша хабарласыңыз +7 (747) 191-70-02
Қазақстан бойынша сенімді жеткізушіден 30%-ға дейінгі жеңілдікпен жоғары сапалы Траверса ТМ-70 сатып алу мүмкіндігін жіберіп алмаңыз - тапсырысты біздің сайтта орналастырыңыз kzcable.kz дәл қазір.
| Пайдаланушы сипаттамалары | |
|---|---|
| Салмақ | 5,0 кг |