


111,11 ₸
Показать оптовые ценыМинимальная сумма заказа на сайте — 100 000 ₸
Компания КВАНТ XXI предлагает купить Траверса ТМ-15 в наличии или под заказ у нас по выгодной цене. У нас вы получите качественную продукцию по оптовым ценам напрямую без посредников. Все позиции имеют Сертификаты и Паспорта качества.
Вы можете заказать Траверса ТМ-15 с доставкой в любой регион Казахстана: Караганда, Алматы, Астана, Шымкент, Уральск, Костанай, Павлодар, Актау, Усть-Каменогорск и другие. Мы обеспечим надежную логистику и быструю поставку. Оформляйте заказ через сайт kzcable.kz или обращайтесь к менеджеру для консультации по номеру +7 (747) 191-70-02
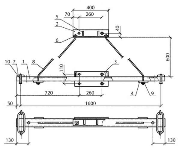
Траверсы ТМ-15 (проект 3.407.1-143.8.15) применяются в период монтажа анкерных промежуточных опор высоковольтных (10 кВ) воздушных линий для крепления определенного провода к стойкам типа СВ110 и СВ105. Крепление производится с использованием специальных хомутов: Х-1 (стойка СВ105) и Х-42 (стойка СВ110). Заказывать хомуты Х-1 и Х-42 необходимо отдельно.
Изготавливается траверса ТМ-15 из прочного материала - углеродистой стали и покрывается лаком (битумным) БТ-577, что делает данное изделие стойким к коррозии и долговечным.
Габариты изделия: 1000х320х485мм.
| Позиция | Наименование детали | Количество | Масса, кг |
|---|---|---|---|
| 1 | Уголок 50х50х5 ГОСТ 8509--86 | 2 | 18,50 |
| 2 | Уголок 100х100х8 ГОСТ 8509--86 | 1 | |
| 3 | Полоса 6х70 ГОСТ 103-76, L=540 | 2 | |
| 4 | Полоса 6х50 ГОСТ 103-76 | 4 | |
| 5 | Полоса 8х80 ГОСТ 103-76 | 2 | |
| 6 | Полоса 6х100 ГОСТ 103-76 | 2 | |
| 7 | Круг 14 ГОСТ 2590-71, L=1100 | 1 | |
| 8 | Круг 16 ГОСТ 2590-71 | 1 | |
| 9 | Болт М20х80 ГОСТ 7798-70 | 3 | |
| 10 | Гайка М20 ГОСТ 5915-70 | 4 | |
| 11 | Шайба 20 ГОСТ 11311-68 | 2 | |
| 12 | Серьга СРС-7-17 ГОСТ 2725-78 | 1 |

Варианты обозначения: траверса ТМ-15, TМ15, TМ-15
****Цена на товар Траверса ТМ-15 зависит от обьема закупки, условий оплаты, условий доставки. Компания КВАНТ XXI предлагает выгодные условия сотрудничества, гибкую систему скидок, отсрочку платежа до 60 дней и быструю доставку до объекта.
Для расчета стоимости - отправьте заявку нам на WhatsApp или свяжитесь с нашими менеджерами по номеру +7 (747) 191-70-02
Не упустите возможность купить Траверса ТМ-15 высокого качества с доставкой по Казахстану от надежного поставщика со скидкой до 30% - оформляйте заказ на нашем сайте kzcable.kz прямо сейчас.
| Пользовательские характеристики | |
|---|---|
| Вес | 18,50 кг |